云筏容器云网络测试

[toc]

摘要

​ 本文主要测试云筏容器云的网络情况,包括国内三网延迟,国外路由,延迟,丢包率。会重点关注连接国外服务器的延迟和丢包。同时提供和容器云同直辖市的阿里云轻量服务器的测速作为对比。

简介

​ 云筏容器云目前节点在世纪互联机房。云筏表示海外流量全部走GIA线路,出口稳定性值得一测。同时,世纪互联机房的带宽费很高,也有必要关注一下流量价格,这一点需要等待云筏信息。

​ 此外云筏容器云通过三级域名cname来转发内网的容器流量(env-xxxxxxx.paas.cloud.ac.cn)。在入口处对端口转发做了负载均衡来提高可用性。支持80端口和443端口,想要建站猜测要备案,具体情况请以云筏官方信息为准。除三级域名转发外,还支持为容器绑定一个ipv4,下文会针对该ipv4地址单独测试。

​ 测试时容器的上行带宽限制为100M。容器选择ubuntu18.04镜像。

国内三网测速

superspeed测速

  • 借助工具superspeed.sh进行三网测速。
1
bash <(curl -Lso- https://git.io/superspeed)

2(8KDIB1%H90~CIUF$F@J.png

​ 可以看到,上行带宽接近我容器的限制,差不多跑满了。

​ 作为对比,提供一个我的上海阿里云学生轻量(上行限5M)测速图:

上海阿里云学生轻量测速图

网站测速

网站打开测速

​ 发起ping的地区基本都是绿的。

大陆以外地区测速

各地traceroute

  • 测试借助站长工具-路由追踪完成,各图片traceroute起始ip都在大陆以外地区,具体信息见图片:
  • 需要注意的是,这里末端ip虽然显示是北京电信,但感觉是广播到上海的ip,后面的测试延迟也都能印证这一点。我对此不太了解,不发表过多意见。
  • 除了通过外部traceroute容器云以外,每张图片下面还有从容器云向外traceroute的路由图。

台湾

1
2
3
4
5
6
7
8
9
10
11
traceroute to 165.3.86.1 (165.3.86.1), 30 hops max, 60 byte packets
1 172.31.0.3 (172.31.0.3) 0.045 ms 0.021 ms 0.024 ms
2 124.74.*.* (124.74.*.*) 6.467 ms 6.411 ms 6.363 ms
3 101.95.91.185 (101.95.91.185) 8.734 ms 101.95.91.189 (101.95.91.189) 8.665 ms 101.95.91.61 (101.95.91.61) 10.291 ms
4 61.152.24.193 (61.152.24.193) 7.179 ms 101.95.88.213 (101.95.88.213) 5.992 ms 5.941 ms
5 * 59.43.130.210 (59.43.130.210) 5.835 ms 5.876 ms
6 59.43.246.218 (59.43.246.218) 6.835 ms 59.43.187.58 (59.43.187.58) 5.242 ms 59.43.246.214 (59.43.246.214) 5.751 ms
7 59.43.246.238 (59.43.246.238) 133.711 ms 59.43.182.82 (59.43.182.82) 132.638 ms 59.43.246.238 (59.43.246.238) 133.256 ms
8 218.30.49.90 (218.30.49.90) 146.274 ms 146.229 ms 146.150 ms
9 * * *
10 165.3.86.1 (165.3.86.1) 169.209 ms 169.144 ms *

韩国

1
2
3
4
5
6
7
8
9
10
11
12
13
14
15
16
17
1  172.31.0.3 (172.31.0.3)  0.051 ms  0.019 ms  0.014 ms
2 124.74.*.* (124.74.*.*) 6.160 ms 6.123 ms 6.150 ms
3 101.95.91.189 (101.95.91.189) 12.569 ms 101.95.91.193 (101.95.91.193) 5.467 ms 101.95.91.69 (101.95.91.69) 5.406 ms
4 61.152.24.205 (61.152.24.205) 5.846 ms 61.152.24.193 (61.152.24.193) 10.790 ms 10.740 ms
5 59.43.138.46 (59.43.138.46) 6.370 ms * *
6 59.43.187.70 (59.43.187.70) 5.762 ms 59.43.246.254 (59.43.246.254) 6.105 ms 59.43.187.66 (59.43.187.66) 6.055 ms
7 59.43.248.110 (59.43.248.110) 31.643 ms 28.933 ms 59.43.183.82 (59.43.183.82) 30.394 ms
8 xe-0-0-21-2.a01.chwahk02.hk.bb.gin.ntt.net (203.131.241.69) 33.575 ms xe-0-0-21-2.a00.chwahk02.hk.bb.gin.ntt.net (203.131.241.65) 31.443 ms xe-0-0-21-2.a01.chwahk02.hk.bb.gin.ntt.net (203.131.241.69) 34.428 ms
9 ae-5.r02.tkokhk01.hk.bb.gin.ntt.net (129.250.6.120) 60.622 ms ae-14.r03.tkokhk01.hk.bb.gin.ntt.net (129.250.5.178) 60.788 ms 60.503 ms
10 ae-11.r24.tkokhk01.hk.bb.gin.ntt.net (129.250.6.99) 30.775 ms 33.485 ms 30.594 ms
11 ae-12.r30.tokyjp05.jp.bb.gin.ntt.net (129.250.2.50) 64.466 ms 65.330 ms 61.332 ms
12 ae-9.r26.tokyjp05.jp.bb.gin.ntt.net (129.250.2.10) 59.495 ms 58.644 ms 56.619 ms
13 ae-0.lgu.tokyjp05.jp.bb.gin.ntt.net (129.250.8.194) 95.558 ms 101.365 ms 101.271 ms
14 1.208.147.117 (1.208.147.117) 91.122 ms 1.208.146.117 (1.208.146.117) 98.543 ms 1.208.147.117 (1.208.147.117) 96.346 ms
15 61.43.224.210 (61.43.224.210) 96.297 ms 1.208.104.166 (1.208.104.166) 95.111 ms 1.208.104.194 (1.208.104.194) 90.468 ms
16 * * *
17 45.91.225.1 (45.91.225.1) 100.427 ms 98.911 ms 91.096 ms

美国

1
2
3
4
5
6
7
8
9
1  172.31.0.3 (172.31.0.3)  0.073 ms  0.023 ms  0.017 ms
2 124.74.*.* (124.74.*.*) 4.905 ms 4.753 ms 5.283 ms
3 101.95.91.193 (101.95.91.193) 6.430 ms * *
4 101.95.88.49 (101.95.88.49) 8.887 ms 61.152.24.193 (61.152.24.193) 11.560 ms 11.494 ms
5 * 59.43.138.58 (59.43.138.58) 6.166 ms *
6 59.43.187.62 (59.43.187.62) 4.810 ms 59.43.187.78 (59.43.187.78) 2.837 ms 59.43.187.62 (59.43.187.62) 2.715 ms
7 59.43.189.34 (59.43.189.34) 130.099 ms 131.959 ms 131.869 ms
8 218.30.49.90 (218.30.49.90) 149.163 ms 151.527 ms 151.443 ms
9 165.3.86.1 (165.3.86.1) 156.747 ms 156.837 ms 156.467 ms

日本东京

1
2
3
4
5
6
7
8
9
1  172.31.0.3 (172.31.0.3)  0.059 ms  0.022 ms  0.017 ms
2 124.74.*.* (124.74.*.*) 3.384 ms 5.217 ms 5.586 ms
3 101.95.91.65 (101.95.91.65) 5.498 ms 101.95.91.57 (101.95.91.57) 9.168 ms 101.95.91.197 (101.95.91.197) 9.382 ms
4 101.95.88.53 (101.95.88.53) 6.253 ms 101.95.88.213 (101.95.88.213) 12.620 ms 61.152.24.209 (61.152.24.209) 6.117 ms
5 * * 59.43.130.218 (59.43.130.218) 5.921 ms
6 59.43.246.218 (59.43.246.218) 4.924 ms * 59.43.187.78 (59.43.187.78) 4.999 ms
7 59.43.247.113 (59.43.247.113) 35.909 ms 59.43.250.225 (59.43.250.225) 46.250 ms 59.43.184.178 (59.43.184.178) 41.993 ms
8 * * *
9 185.202.103.129 (185.202.103.129) 87.965 ms 88.396 ms 87.738 ms

香港

1
2
3
4
5
6
7
8
9
10
11
12
13
14
1  172.31.0.3 (172.31.0.3)  0.064 ms  0.028 ms  0.017 ms
2 124.74.*.* (124.74.*.*) 7.287 ms 7.169 ms 7.131 ms
3 101.95.91.61 (101.95.91.61) 5.292 ms 101.95.91.69 (101.95.91.69) 5.294 ms 101.95.91.61 (101.95.91.61) 5.718 ms
4 101.95.88.57 (101.95.88.57) 6.389 ms 6.341 ms 101.95.88.49 (101.95.88.49) 6.310 ms
5 * 59.43.130.194 (59.43.130.194) 6.334 ms 59.43.138.54 (59.43.138.54) 5.650 ms
6 59.43.187.58 (59.43.187.58) 5.590 ms 59.43.186.246 (59.43.186.246) 5.175 ms 59.43.187.74 (59.43.187.74) 4.661 ms
7 59.43.183.78 (59.43.183.78) 89.714 ms 59.43.189.82 (59.43.189.82) 35.414 ms 59.43.183.78 (59.43.183.78) 89.512 ms
8 59.43.244.222 (59.43.244.222) 34.023 ms 33.967 ms 33.332 ms
9 * * *
10 * * *
11 * * *
12 * * *
13 * * *
断了

日本东京

1
2
3
4
5
6
7
8
9
1  172.31.0.3 (172.31.0.3)  0.066 ms  0.016 ms  0.017 ms
2 124.74.*.* (124.74.*.*) 6.011 ms 5.956 ms 6.059 ms
3 101.95.91.57 (101.95.91.57) 5.848 ms 101.95.91.69 (101.95.91.69) 5.767 ms 101.95.91.189 (101.95.91.189) 6.168 ms
4 61.152.24.189 (61.152.24.189) 7.513 ms 101.95.88.57 (101.95.88.57) 7.498 ms 61.152.24.205 (61.152.24.205) 5.607 ms
5 * * *
6 59.43.187.62 (59.43.187.62) 5.473 ms 59.43.246.218 (59.43.246.218) 5.801 ms 59.43.246.214 (59.43.246.214) 5.743 ms
7 59.43.183.2 (59.43.183.2) 30.317 ms * 59.43.247.113 (59.43.247.113) 36.248 ms
8 * * *
9 154.91.168.129 (154.91.168.129) 113.006 ms 112.912 ms 113.263 ms

美国

1
2
3
4
5
6
7
8
9
10
11
12
13
14
15
1  172.31.0.3 (172.31.0.3)  0.059 ms  0.018 ms  0.014 ms
2 124.74.*.* (124.74.*.*) 3.897 ms 4.776 ms 5.678 ms
3 101.95.91.185 (101.95.91.185) 10.363 ms 10.315 ms 101.95.91.193 (101.95.91.193) 4.941 ms
4 61.152.24.205 (61.152.24.205) 6.124 ms 61.152.24.193 (61.152.24.193) 6.894 ms 101.95.88.53 (101.95.88.53) 5.646 ms
5 * 59.43.138.70 (59.43.138.70) 6.138 ms 59.43.130.206 (59.43.130.206) 5.392 ms
6 59.43.187.58 (59.43.187.58) 5.900 ms 59.43.246.218 (59.43.246.218) 5.099 ms 59.43.187.58 (59.43.187.58) 5.488 ms
7 59.43.182.137 (59.43.182.137) 135.492 ms 134.046 ms *
8 218.30.49.74 (218.30.49.74) 136.901 ms 129.392 ms 133.297 ms
9 10.255.255.21 (10.255.255.21) 137.995 ms * *
10 * * *
11 * * *
12 * * *
13 * * *
14 * * *
断了

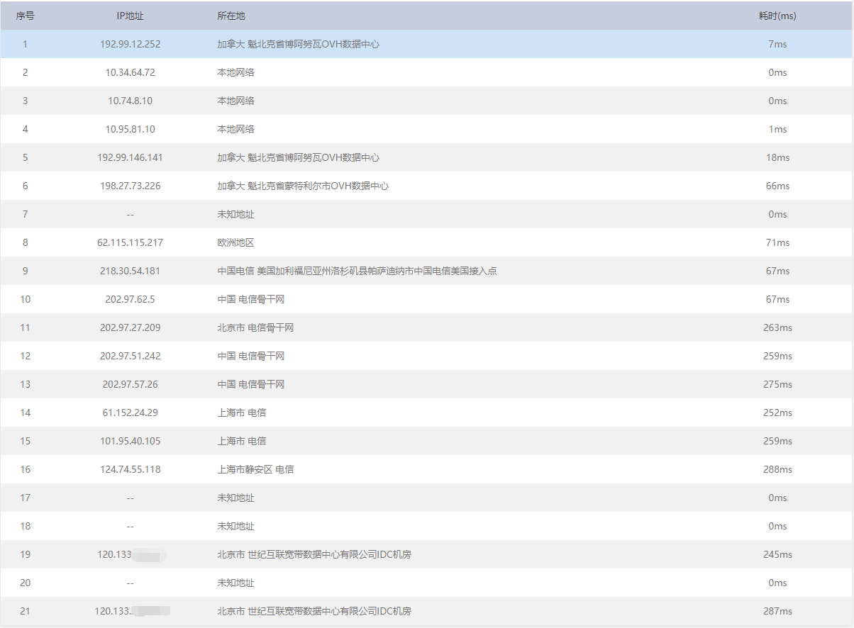
加拿大

1
2
3
4
5
6
7
8
9
10
11
12
13
14
15
16
17
18
19
20
21
1  172.31.0.3 (172.31.0.3)  0.042 ms  0.016 ms  0.015 ms
2 124.74.*.* (124.74.*.*) 6.235 ms 5.739 ms 6.084 ms
3 101.95.91.69 (101.95.91.69) 5.388 ms 101.95.91.193 (101.95.91.193) 5.356 ms 5.306 ms
4 61.152.24.205 (61.152.24.205) 42.443 ms 101.95.88.53 (101.95.88.53) 5.196 ms 101.95.88.49 (101.95.88.49) 6.314 ms
5 * * *
6 59.43.187.66 (59.43.187.66) 6.067 ms 59.43.187.82 (59.43.187.82) 5.127 ms 59.43.187.70 (59.43.187.70) 4.831 ms
7 59.43.184.186 (59.43.184.186) 165.806 ms 166.172 ms 166.089 ms
8 59.43.250.5 (59.43.250.5) 165.468 ms 165.478 ms 165.368 ms
9 87.128.235.129 (87.128.235.129) 183.694 ms 184.047 ms 183.631 ms
10 f-ee1-i.F.DE.NET.DTAG.DE (62.154.14.54) 182.886 ms 187.033 ms 179.253 ms
11 be100-162.fra-5-a9.de.eu (37.187.232.98) 197.036 ms 197.003 ms 197.041 ms
12 * * *
13 * * *
14 * * *
15 be103.rbx-g1-nc5.fr.eu (178.33.100.158) 204.581 ms be103.rbx-g2-nc5.fr.eu (94.23.122.240) 205.660 ms be103.rbx-g1-nc5.fr.eu (178.33.100.158) 206.128 ms
16 * * *
17 be100-1295.nwk-1-a9.nj.us (192.99.146.127) 274.808 ms 272.740 ms be100-1298.nwk-5-a9.nj.us (192.99.146.133) 274.578 ms
18 be102.bhs-g2-nc5.qc.ca (192.99.146.138) 291.634 ms 296.276 ms 295.745 ms
19 * * *
20 * * *
21 192.99.12.252 (192.99.12.252) 277.941 ms 274.304 ms 274.510 ms

小结

​ 海外双向ping可以发现,由容器云主动发起的连接,流量全部走gia;海外服务器发起的连接,流量走163。

个人测试

traceroute

  • 我的hz德国vps的traceroute 容器云结果:

    从德国到达英国,然后进入上海电信,汇入世纪互联机房。

    1
    2
    3
    4
    5
    6
    7
    8
    9
    10
    11
    12
    13
    14
    15
    16
    17
    18
    traceroute to env-*.paas.cloud.ac.cn (120.133.*.*), 30 hops max, 60 byte packets
    1 static.1.221.243.136.clients.your-server.de (136.243.221.1) 0.203 ms 0.185 ms 0.178 ms
    2 static.65.52.243.136.clients.your-server.de (136.243.52.65) 0.312 ms 0.320 ms 0.337 ms
    3 * core24.fsn1.hetzner.com (213.239.203.193) 0.560 ms *
    4 core1.fra.hetzner.com (213.239.203.153) 5.206 ms 5.456 ms 5.194 ms
    5 ae18.cr6-fra2.ip4.gtt.net (154.14.78.153) 7.856 ms 7.877 ms 7.844 ms
    6 ip4.gtt.net (154.14.32.238) 7.175 ms 6.756 ms 6.748 ms
    7 202.97.94.85 (202.97.94.85) 212.128 ms 211.904 ms 211.889 ms
    8 202.97.90.30 (202.97.90.30) 244.065 ms 244.052 ms 243.666 ms
    9 202.97.50.145 (202.97.50.145) 229.087 ms 228.757 ms 228.743 ms
    10 61.152.24.1 (61.152.24.1) 256.530 ms 256.709 ms 256.710 ms
    11 61.152.20.78 (61.152.20.78) 242.240 ms 61.152.20.70 (61.152.20.70) 226.094 ms 124.74.55.122 (124.74.55.122) 235.990 ms
    12 * 101.95.19.118 (101.95.19.118) 261.121 ms *
    13 * * *
    14 120.133.*.* (120.133.*.*) 244.191 ms 244.186 ms 244.148 ms
    15 * * *
    16 * * *
    17 * * *
  • hz德国vps traceroute 阿里云上海轻量作为对比:

    从欧洲出口后依次到达北京联通,上海联通,再到达阿里云

    1
    2
    3
    4
    5
    6
    7
    8
    9
    10
    11
    12
    13
    14
    15
    16
    17
    18
    19
    20
    21
    traceroute to 47.103.*.* (47.103.*.*), 30 hops max, 60 byte packets
    1 static.1.221.243.136.clients.your-server.de (136.243.221.1) 0.342 ms 0.319 ms 0.310 ms
    2 static.65.52.243.136.clients.your-server.de (136.243.52.65) 1.991 ms 2.013 ms 2.042 ms
    3 * core23.fsn1.hetzner.com (213.239.203.189) 12.276 ms core24.fsn1.hetzner.com (213.239.203.193) 11.967 ms
    4 juniper5.nbg1.hetzner.com (213.239.252.245) 3.380 ms juniper4.nbg1.hetzner.com (213.239.252.233) 2.654 ms juniper5.nbg1.hetzner.com (213.239.252.245) 2.646 ms
    5 nug-b1-link.telia.net (62.115.183.232) 3.194 ms 3.185 ms nug-b1-link.telia.net (213.248.70.0) 3.176 ms
    6 ffm-bb1-link.telia.net (62.115.113.146) 5.627 ms 5.436 ms 5.467 ms
    7 ffm-b2-link.telia.net (62.115.142.205) 5.548 ms 5.611 ms ffm-b1-link.telia.net (62.115.141.241) 5.310 ms
    8 219.158.33.193 (219.158.33.193) 215.462 ms 215.220 ms 219.158.41.89 (219.158.41.89) 237.073 ms
    9 219.158.19.125 (219.158.19.125) 244.011 ms 219.158.11.181 (219.158.11.181) 239.608 ms 219.158.20.201 (219.158.20.201) 234.909 ms
    10 219.158.22.142 (219.158.22.142) 233.200 ms 219.158.103.25 (219.158.103.25) 240.364 ms 219.158.22.142 (219.158.22.142) 238.342 ms
    11 219.158.113.122 (219.158.113.122) 263.650 ms 219.158.103.217 (219.158.103.217) 294.865 ms 219.158.24.125 (219.158.24.125) 295.047 ms
    12 219.158.6.245 (219.158.6.245) 298.079 ms 219.158.113.105 (219.158.113.105) 267.344 ms 219.158.6.245 (219.158.6.245) 304.467 ms
    13 139.226.210.70 (139.226.210.70) 303.289 ms 316.794 ms 321.940 ms
    14 139.226.230.162 (139.226.230.162) 257.725 ms * 139.226.230.154 (139.226.230.154) 314.902 ms
    15 * * *
    16 116.251.88.154 (116.251.88.154) 271.827 ms * 140.205.50.226 (140.205.50.226) 204.456 ms
    17 116.251.117.121 (116.251.117.121) 214.609 ms 116.251.95.1 (116.251.95.1) 272.019 ms *
    18 * * *
    19 * * *
    20 47.103.*.* (47.103.*.*) 232.703 ms 216.823 ms *
  • 补充一个do 加利福尼亚traceroute 容器云结果:

    在上海电信入境,然后进入世纪互联机房

    1
    2
    3
    4
    5
    6
    7
    8
    9
    10
    11
    12
    13
    14
    15
    16
    17
    18
    19
    20
    21
      traceroute to env-*.paas.cloud.ac.cn (120.133.*.205), 30 hops max, 60 byte packets
    1 * * *
    2 10.64.66.103 (10.64.66.103) 2.240 ms 2.232 ms 10.64.66.85 (10.64.66.85) 0.856 ms
    3 138.197.249.150 (138.197.249.150) 0.990 ms 138.197.249.144 (138.197.249.144) 1.009 ms 138.197.249.158 (138.197.249.158) 1.206 ms
    4 138.197.249.186 (138.197.249.186) 0.928 ms 138.197.249.188 (138.197.249.188) 0.875 ms 138.197.249.180 (138.197.249.180) 1.164 ms
    5 * * *
    6 ae-1-9.edge2.SanJose3.Level3.net (4.69.209.181) 1.564 ms 1.018 ms ae-3-19.edge2.SanJose3.Level3.net (4.69.209.189) 1.346 ms
    7 CHINA-TELEC.edge2.SanJose3.Level3.net (4.53.210.114) 3.771 ms CHINA-TELEC.edge2.SanJose3.Level3.net (4.53.210.166) 4.624 ms CHINA-TELEC.edge2.SanJose3.Level3.net (4.53.210.210) 2.212 ms
    8 202.97.50.69 (202.97.50.69) 8.496 ms 8.495 ms 8.069 ms
    9 202.97.51.221 (202.97.51.221) 172.743 ms 172.633 ms 172.617 ms
    10 202.97.91.25 (202.97.91.25) 188.471 ms 188.318 ms 188.475 ms
    11 202.97.57.146 (202.97.57.146) 187.323 ms 183.232 ms 183.211 ms
    12 * 101.95.88.13 (101.95.88.13) 177.223 ms 177.221 ms
    13 101.95.95.26 (101.95.95.26) 179.104 ms 101.95.95.89 (101.95.95.89) 189.681 ms 101.95.95.73 (101.95.95.73) 210.423 ms
    14 61.152.20.66 (61.152.20.66) 177.908 ms 177.954 ms 124.74.55.26 (124.74.55.26) 166.225 ms
    15 * * 101.95.133.246 (101.95.133.246) 177.160 ms
    16 * * *
    17 120.133.*.* (120.133.*.*) 176.838 ms 176.397 ms 175.656 ms
    18 * * *
    19 * * *
    20 * * *

icmp ping

  • hz德国ping 容器云

    1
    2
    3
    4
    5
    6
    7
    8
    9
    10
    11
    12
    13
    14
    15
    16
    17
    18
    19
    20
    21
    22
    23
    24
    25
    26
    27
    28
    29
    30
    31
    32
    33
    34
    35
    36
    37
    38
    39
    40
    41
    42
    43
    44
    45
    46
    47
    48
    49
    50
    51
    52
    53
    54
    55
    56
    57
    58
    59
    60
    61
    62
    63
    64
    65
    66
    67
    68
    69
    70
    71
    72
    73
    74
    75
    76
    77
    78
    79
    80
    81
    82
    83
    84
    85
    86
    87
    88
    89
    90
    91
    92
    93
    94
    95
    96
    97
    98
    99
    100
    101
    102
    PING env-*.paas.cloud.ac.cn (120.133.*.204) 56(84) bytes of data.
    64 bytes from 120.133.*.204 (120.133.*.204): icmp_seq=1 ttl=47 time=296 ms
    64 bytes from 120.133.*.204 (120.133.*.204): icmp_seq=2 ttl=47 time=293 ms
    64 bytes from 120.133.*.204 (120.133.*.204): icmp_seq=3 ttl=47 time=296 ms
    64 bytes from 120.133.*.204 (120.133.*.204): icmp_seq=4 ttl=47 time=296 ms
    64 bytes from 120.133.*.204 (120.133.*.204): icmp_seq=5 ttl=47 time=296 ms
    64 bytes from 120.133.*.204 (120.133.*.204): icmp_seq=6 ttl=47 time=295 ms
    64 bytes from 120.133.*.204 (120.133.*.204): icmp_seq=7 ttl=47 time=296 ms
    64 bytes from 120.133.*.204 (120.133.*.204): icmp_seq=8 ttl=47 time=293 ms
    64 bytes from 120.133.*.204 (120.133.*.204): icmp_seq=9 ttl=47 time=293 ms
    64 bytes from 120.133.*.204 (120.133.*.204): icmp_seq=10 ttl=47 time=295 ms
    64 bytes from 120.133.*.204 (120.133.*.204): icmp_seq=11 ttl=47 time=294 ms
    64 bytes from 120.133.*.204 (120.133.*.204): icmp_seq=12 ttl=47 time=295 ms
    64 bytes from 120.133.*.204 (120.133.*.204): icmp_seq=13 ttl=47 time=295 ms
    64 bytes from 120.133.*.204 (120.133.*.204): icmp_seq=14 ttl=47 time=294 ms
    64 bytes from 120.133.*.204 (120.133.*.204): icmp_seq=15 ttl=47 time=295 ms
    64 bytes from 120.133.*.204 (120.133.*.204): icmp_seq=16 ttl=47 time=296 ms
    64 bytes from 120.133.*.204 (120.133.*.204): icmp_seq=18 ttl=47 time=294 ms
    64 bytes from 120.133.*.204 (120.133.*.204): icmp_seq=19 ttl=47 time=295 ms
    64 bytes from 120.133.*.204 (120.133.*.204): icmp_seq=20 ttl=47 time=293 ms
    64 bytes from 120.133.*.204 (120.133.*.204): icmp_seq=21 ttl=47 time=293 ms
    64 bytes from 120.133.*.204 (120.133.*.204): icmp_seq=22 ttl=47 time=295 ms
    64 bytes from 120.133.*.204 (120.133.*.204): icmp_seq=23 ttl=47 time=296 ms
    64 bytes from 120.133.*.204 (120.133.*.204): icmp_seq=24 ttl=47 time=294 ms
    64 bytes from 120.133.*.204 (120.133.*.204): icmp_seq=25 ttl=47 time=294 ms
    64 bytes from 120.133.*.204 (120.133.*.204): icmp_seq=26 ttl=47 time=294 ms
    64 bytes from 120.133.*.204 (120.133.*.204): icmp_seq=28 ttl=47 time=295 ms
    64 bytes from 120.133.*.204 (120.133.*.204): icmp_seq=29 ttl=47 time=298 ms
    64 bytes from 120.133.*.204 (120.133.*.204): icmp_seq=30 ttl=47 time=298 ms
    64 bytes from 120.133.*.204 (120.133.*.204): icmp_seq=31 ttl=47 time=299 ms
    64 bytes from 120.133.*.204 (120.133.*.204): icmp_seq=32 ttl=47 time=298 ms
    64 bytes from 120.133.*.204 (120.133.*.204): icmp_seq=33 ttl=47 time=299 ms
    64 bytes from 120.133.*.204 (120.133.*.204): icmp_seq=34 ttl=47 time=299 ms
    64 bytes from 120.133.*.204 (120.133.*.204): icmp_seq=35 ttl=47 time=299 ms
    64 bytes from 120.133.*.204 (120.133.*.204): icmp_seq=36 ttl=47 time=298 ms
    64 bytes from 120.133.*.204 (120.133.*.204): icmp_seq=37 ttl=47 time=295 ms
    64 bytes from 120.133.*.204 (120.133.*.204): icmp_seq=38 ttl=47 time=298 ms
    64 bytes from 120.133.*.204 (120.133.*.204): icmp_seq=39 ttl=47 time=297 ms
    64 bytes from 120.133.*.204 (120.133.*.204): icmp_seq=40 ttl=47 time=295 ms
    64 bytes from 120.133.*.204 (120.133.*.204): icmp_seq=41 ttl=47 time=296 ms
    64 bytes from 120.133.*.204 (120.133.*.204): icmp_seq=42 ttl=47 time=300 ms
    64 bytes from 120.133.*.204 (120.133.*.204): icmp_seq=43 ttl=47 time=296 ms
    64 bytes from 120.133.*.204 (120.133.*.204): icmp_seq=44 ttl=47 time=297 ms
    64 bytes from 120.133.*.204 (120.133.*.204): icmp_seq=45 ttl=47 time=296 ms
    64 bytes from 120.133.*.204 (120.133.*.204): icmp_seq=46 ttl=47 time=296 ms
    64 bytes from 120.133.*.204 (120.133.*.204): icmp_seq=48 ttl=47 time=296 ms
    64 bytes from 120.133.*.204 (120.133.*.204): icmp_seq=49 ttl=47 time=296 ms
    64 bytes from 120.133.*.204 (120.133.*.204): icmp_seq=50 ttl=47 time=301 ms
    64 bytes from 120.133.*.204 (120.133.*.204): icmp_seq=51 ttl=47 time=308 ms
    64 bytes from 120.133.*.204 (120.133.*.204): icmp_seq=52 ttl=47 time=313 ms
    64 bytes from 120.133.*.204 (120.133.*.204): icmp_seq=53 ttl=47 time=307 ms
    64 bytes from 120.133.*.204 (120.133.*.204): icmp_seq=54 ttl=47 time=307 ms
    64 bytes from 120.133.*.204 (120.133.*.204): icmp_seq=55 ttl=47 time=297 ms
    64 bytes from 120.133.*.204 (120.133.*.204): icmp_seq=56 ttl=47 time=301 ms
    64 bytes from 120.133.*.204 (120.133.*.204): icmp_seq=57 ttl=47 time=296 ms
    64 bytes from 120.133.*.204 (120.133.*.204): icmp_seq=58 ttl=47 time=299 ms
    64 bytes from 120.133.*.204 (120.133.*.204): icmp_seq=59 ttl=47 time=296 ms
    64 bytes from 120.133.*.204 (120.133.*.204): icmp_seq=60 ttl=47 time=311 ms
    64 bytes from 120.133.*.204 (120.133.*.204): icmp_seq=61 ttl=47 time=299 ms
    64 bytes from 120.133.*.204 (120.133.*.204): icmp_seq=62 ttl=47 time=296 ms
    64 bytes from 120.133.*.204 (120.133.*.204): icmp_seq=63 ttl=47 time=297 ms
    64 bytes from 120.133.*.204 (120.133.*.204): icmp_seq=64 ttl=47 time=301 ms
    64 bytes from 120.133.*.204 (120.133.*.204): icmp_seq=65 ttl=47 time=313 ms
    64 bytes from 120.133.*.204 (120.133.*.204): icmp_seq=66 ttl=47 time=295 ms
    64 bytes from 120.133.*.204 (120.133.*.204): icmp_seq=67 ttl=47 time=296 ms
    64 bytes from 120.133.*.204 (120.133.*.204): icmp_seq=68 ttl=47 time=296 ms
    64 bytes from 120.133.*.204 (120.133.*.204): icmp_seq=69 ttl=47 time=295 ms
    64 bytes from 120.133.*.204 (120.133.*.204): icmp_seq=70 ttl=47 time=296 ms
    64 bytes from 120.133.*.204 (120.133.*.204): icmp_seq=71 ttl=47 time=295 ms
    64 bytes from 120.133.*.204 (120.133.*.204): icmp_seq=72 ttl=47 time=295 ms
    64 bytes from 120.133.*.204 (120.133.*.204): icmp_seq=73 ttl=47 time=295 ms
    64 bytes from 120.133.*.204 (120.133.*.204): icmp_seq=74 ttl=47 time=303 ms
    64 bytes from 120.133.*.204 (120.133.*.204): icmp_seq=75 ttl=47 time=296 ms
    64 bytes from 120.133.*.204 (120.133.*.204): icmp_seq=76 ttl=47 time=295 ms
    64 bytes from 120.133.*.204 (120.133.*.204): icmp_seq=77 ttl=47 time=295 ms
    64 bytes from 120.133.*.204 (120.133.*.204): icmp_seq=78 ttl=47 time=293 ms
    64 bytes from 120.133.*.204 (120.133.*.204): icmp_seq=79 ttl=47 time=293 ms
    64 bytes from 120.133.*.204 (120.133.*.204): icmp_seq=80 ttl=47 time=292 ms
    64 bytes from 120.133.*.204 (120.133.*.204): icmp_seq=81 ttl=47 time=292 ms
    64 bytes from 120.133.*.204 (120.133.*.204): icmp_seq=82 ttl=47 time=292 ms
    64 bytes from 120.133.*.204 (120.133.*.204): icmp_seq=83 ttl=47 time=293 ms
    64 bytes from 120.133.*.204 (120.133.*.204): icmp_seq=84 ttl=47 time=292 ms
    64 bytes from 120.133.*.204 (120.133.*.204): icmp_seq=85 ttl=47 time=294 ms
    64 bytes from 120.133.*.204 (120.133.*.204): icmp_seq=86 ttl=47 time=293 ms
    64 bytes from 120.133.*.204 (120.133.*.204): icmp_seq=87 ttl=47 time=295 ms
    64 bytes from 120.133.*.204 (120.133.*.204): icmp_seq=88 ttl=47 time=302 ms
    64 bytes from 120.133.*.204 (120.133.*.204): icmp_seq=89 ttl=47 time=297 ms
    64 bytes from 120.133.*.204 (120.133.*.204): icmp_seq=90 ttl=47 time=311 ms
    64 bytes from 120.133.*.204 (120.133.*.204): icmp_seq=91 ttl=47 time=313 ms
    64 bytes from 120.133.*.204 (120.133.*.204): icmp_seq=92 ttl=47 time=301 ms
    64 bytes from 120.133.*.204 (120.133.*.204): icmp_seq=93 ttl=47 time=297 ms
    64 bytes from 120.133.*.204 (120.133.*.204): icmp_seq=94 ttl=47 time=301 ms
    64 bytes from 120.133.*.204 (120.133.*.204): icmp_seq=95 ttl=47 time=297 ms
    64 bytes from 120.133.*.204 (120.133.*.204): icmp_seq=96 ttl=47 time=296 ms
    64 bytes from 120.133.*.204 (120.133.*.204): icmp_seq=97 ttl=47 time=296 ms
    64 bytes from 120.133.*.204 (120.133.*.204): icmp_seq=98 ttl=47 time=297 ms
    64 bytes from 120.133.*.204 (120.133.*.204): icmp_seq=99 ttl=47 time=296 ms
    64 bytes from 120.133.*.204 (120.133.*.204): icmp_seq=100 ttl=47 time=296 ms
    ^C
    --- env-*.paas.cloud.ac.cn ping statistics ---
    101 packets transmitted, 97 received, 3% packet loss, time 100111ms
    rtt min/avg/max/mdev = 292.241/297.762/313.664/4.642 ms
  • hz德国ping 阿里云上海轻量,作为对比:

    1
    2
    3
    4
    5
    6
    7
    8
    9
    10
    11
    12
    13
    14
    15
    16
    17
    18
    19
    20
    21
    22
    23
    24
    25
    26
    27
    28
    29
    30
    31
    32
    33
    34
    35
    36
    37
    38
    39
    40
    41
    42
    43
    44
    45
    46
    47
    48
    49
    50
    51
    52
    53
    54
    55
    56
    57
    58
    59
    60
    61
    62
    63
    64
    65
    66
    67
    68
    69
    70
    71
    72
    73
    74
    75
    76
    77
    78
    79
    80
    81
    82
    83
    84
    85
    86
    87
    88
    89
    90
    91
    92
    93
    94
    95
    96
    97
    98
    99
    100
    101
    102
    103
    104
    105
    106
    107
    108
    109
    110
    111
    112
    113
    114
    115
    116
    117
    118
    119
    120
    121
    122
    123
    124
    125
    126
    127
    128
    129
    130
    131
    132
    133
    134
    135
    136
    137
    138
    139
    140
    141
    142
    143
    144
    145
    146
    147
    148
    149
    150
    151
    152
    153
    154
    155
    156
    157
    158
    159
    160
    161
    162
    163
    164
    165
    166
    167
    168
    169
    PING 47.103.*.* (47.103.*.*) 56(84) bytes of data.
    64 bytes from 47.103.*.* (47.103.*.*): icmp_seq=1 ttl=44 time=255 ms
    64 bytes from 47.103.*.* (47.103.*.*): icmp_seq=2 ttl=44 time=265 ms
    64 bytes from 47.103.*.* (47.103.*.*): icmp_seq=3 ttl=44 time=269 ms
    64 bytes from 47.103.*.* (47.103.*.*): icmp_seq=4 ttl=44 time=253 ms
    64 bytes from 47.103.*.* (47.103.*.*): icmp_seq=5 ttl=44 time=238 ms
    64 bytes from 47.103.*.* (47.103.*.*): icmp_seq=6 ttl=44 time=249 ms
    64 bytes from 47.103.*.* (47.103.*.*): icmp_seq=7 ttl=44 time=265 ms
    64 bytes from 47.103.*.* (47.103.*.*): icmp_seq=8 ttl=44 time=266 ms
    64 bytes from 47.103.*.* (47.103.*.*): icmp_seq=9 ttl=44 time=261 ms
    64 bytes from 47.103.*.* (47.103.*.*): icmp_seq=10 ttl=44 time=234 ms
    64 bytes from 47.103.*.* (47.103.*.*): icmp_seq=11 ttl=44 time=264 ms
    64 bytes from 47.103.*.* (47.103.*.*): icmp_seq=12 ttl=44 time=238 ms
    64 bytes from 47.103.*.* (47.103.*.*): icmp_seq=13 ttl=44 time=268 ms
    64 bytes from 47.103.*.* (47.103.*.*): icmp_seq=14 ttl=44 time=263 ms
    64 bytes from 47.103.*.* (47.103.*.*): icmp_seq=15 ttl=44 time=252 ms
    64 bytes from 47.103.*.* (47.103.*.*): icmp_seq=16 ttl=44 time=259 ms
    64 bytes from 47.103.*.* (47.103.*.*): icmp_seq=17 ttl=44 time=240 ms
    64 bytes from 47.103.*.* (47.103.*.*): icmp_seq=18 ttl=44 time=266 ms
    64 bytes from 47.103.*.* (47.103.*.*): icmp_seq=19 ttl=44 time=243 ms
    64 bytes from 47.103.*.* (47.103.*.*): icmp_seq=20 ttl=44 time=244 ms
    64 bytes from 47.103.*.* (47.103.*.*): icmp_seq=21 ttl=44 time=268 ms
    64 bytes from 47.103.*.* (47.103.*.*): icmp_seq=22 ttl=44 time=261 ms
    64 bytes from 47.103.*.* (47.103.*.*): icmp_seq=23 ttl=44 time=262 ms
    64 bytes from 47.103.*.* (47.103.*.*): icmp_seq=24 ttl=44 time=227 ms
    64 bytes from 47.103.*.* (47.103.*.*): icmp_seq=25 ttl=44 time=242 ms
    64 bytes from 47.103.*.* (47.103.*.*): icmp_seq=26 ttl=44 time=251 ms
    64 bytes from 47.103.*.* (47.103.*.*): icmp_seq=27 ttl=44 time=269 ms
    64 bytes from 47.103.*.* (47.103.*.*): icmp_seq=28 ttl=44 time=263 ms
    64 bytes from 47.103.*.* (47.103.*.*): icmp_seq=29 ttl=44 time=234 ms
    64 bytes from 47.103.*.* (47.103.*.*): icmp_seq=30 ttl=44 time=259 ms
    64 bytes from 47.103.*.* (47.103.*.*): icmp_seq=31 ttl=44 time=261 ms
    64 bytes from 47.103.*.* (47.103.*.*): icmp_seq=32 ttl=44 time=223 ms
    64 bytes from 47.103.*.* (47.103.*.*): icmp_seq=33 ttl=44 time=269 ms
    64 bytes from 47.103.*.* (47.103.*.*): icmp_seq=34 ttl=44 time=264 ms
    64 bytes from 47.103.*.* (47.103.*.*): icmp_seq=35 ttl=44 time=258 ms
    64 bytes from 47.103.*.* (47.103.*.*): icmp_seq=36 ttl=44 time=269 ms
    64 bytes from 47.103.*.* (47.103.*.*): icmp_seq=37 ttl=44 time=263 ms
    64 bytes from 47.103.*.* (47.103.*.*): icmp_seq=38 ttl=44 time=230 ms
    64 bytes from 47.103.*.* (47.103.*.*): icmp_seq=39 ttl=44 time=267 ms
    64 bytes from 47.103.*.* (47.103.*.*): icmp_seq=40 ttl=44 time=270 ms
    64 bytes from 47.103.*.* (47.103.*.*): icmp_seq=41 ttl=44 time=252 ms
    64 bytes from 47.103.*.* (47.103.*.*): icmp_seq=42 ttl=44 time=261 ms
    64 bytes from 47.103.*.* (47.103.*.*): icmp_seq=43 ttl=44 time=257 ms
    64 bytes from 47.103.*.* (47.103.*.*): icmp_seq=44 ttl=44 time=254 ms
    64 bytes from 47.103.*.* (47.103.*.*): icmp_seq=45 ttl=44 time=271 ms
    64 bytes from 47.103.*.* (47.103.*.*): icmp_seq=46 ttl=44 time=272 ms
    64 bytes from 47.103.*.* (47.103.*.*): icmp_seq=47 ttl=44 time=271 ms
    64 bytes from 47.103.*.* (47.103.*.*): icmp_seq=48 ttl=44 time=263 ms
    64 bytes from 47.103.*.* (47.103.*.*): icmp_seq=49 ttl=44 time=261 ms
    64 bytes from 47.103.*.* (47.103.*.*): icmp_seq=50 ttl=44 time=224 ms
    64 bytes from 47.103.*.* (47.103.*.*): icmp_seq=51 ttl=44 time=232 ms
    64 bytes from 47.103.*.* (47.103.*.*): icmp_seq=52 ttl=44 time=267 ms
    64 bytes from 47.103.*.* (47.103.*.*): icmp_seq=53 ttl=44 time=244 ms
    64 bytes from 47.103.*.* (47.103.*.*): icmp_seq=54 ttl=44 time=270 ms
    64 bytes from 47.103.*.* (47.103.*.*): icmp_seq=55 ttl=44 time=266 ms
    64 bytes from 47.103.*.* (47.103.*.*): icmp_seq=56 ttl=44 time=240 ms
    64 bytes from 47.103.*.* (47.103.*.*): icmp_seq=57 ttl=44 time=234 ms
    64 bytes from 47.103.*.* (47.103.*.*): icmp_seq=58 ttl=44 time=266 ms
    64 bytes from 47.103.*.* (47.103.*.*): icmp_seq=59 ttl=44 time=269 ms
    64 bytes from 47.103.*.* (47.103.*.*): icmp_seq=60 ttl=44 time=269 ms
    64 bytes from 47.103.*.* (47.103.*.*): icmp_seq=61 ttl=44 time=258 ms
    64 bytes from 47.103.*.* (47.103.*.*): icmp_seq=62 ttl=44 time=265 ms
    64 bytes from 47.103.*.* (47.103.*.*): icmp_seq=63 ttl=44 time=235 ms
    64 bytes from 47.103.*.* (47.103.*.*): icmp_seq=64 ttl=44 time=268 ms
    64 bytes from 47.103.*.* (47.103.*.*): icmp_seq=65 ttl=44 time=265 ms
    64 bytes from 47.103.*.* (47.103.*.*): icmp_seq=66 ttl=44 time=227 ms
    64 bytes from 47.103.*.* (47.103.*.*): icmp_seq=67 ttl=44 time=266 ms
    64 bytes from 47.103.*.* (47.103.*.*): icmp_seq=68 ttl=44 time=265 ms
    64 bytes from 47.103.*.* (47.103.*.*): icmp_seq=69 ttl=44 time=248 ms
    64 bytes from 47.103.*.* (47.103.*.*): icmp_seq=70 ttl=44 time=270 ms
    64 bytes from 47.103.*.* (47.103.*.*): icmp_seq=71 ttl=44 time=269 ms
    64 bytes from 47.103.*.* (47.103.*.*): icmp_seq=72 ttl=44 time=255 ms
    64 bytes from 47.103.*.* (47.103.*.*): icmp_seq=73 ttl=44 time=260 ms
    64 bytes from 47.103.*.* (47.103.*.*): icmp_seq=74 ttl=44 time=258 ms
    64 bytes from 47.103.*.* (47.103.*.*): icmp_seq=75 ttl=44 time=239 ms
    64 bytes from 47.103.*.* (47.103.*.*): icmp_seq=76 ttl=44 time=243 ms
    64 bytes from 47.103.*.* (47.103.*.*): icmp_seq=77 ttl=44 time=270 ms
    64 bytes from 47.103.*.* (47.103.*.*): icmp_seq=78 ttl=44 time=271 ms
    64 bytes from 47.103.*.* (47.103.*.*): icmp_seq=79 ttl=44 time=263 ms
    64 bytes from 47.103.*.* (47.103.*.*): icmp_seq=80 ttl=44 time=260 ms
    64 bytes from 47.103.*.* (47.103.*.*): icmp_seq=81 ttl=44 time=246 ms
    64 bytes from 47.103.*.* (47.103.*.*): icmp_seq=82 ttl=44 time=231 ms
    64 bytes from 47.103.*.* (47.103.*.*): icmp_seq=83 ttl=44 time=270 ms
    64 bytes from 47.103.*.* (47.103.*.*): icmp_seq=84 ttl=44 time=225 ms
    64 bytes from 47.103.*.* (47.103.*.*): icmp_seq=85 ttl=44 time=270 ms
    64 bytes from 47.103.*.* (47.103.*.*): icmp_seq=86 ttl=44 time=275 ms
    64 bytes from 47.103.*.* (47.103.*.*): icmp_seq=87 ttl=44 time=259 ms
    64 bytes from 47.103.*.* (47.103.*.*): icmp_seq=88 ttl=44 time=215 ms
    64 bytes from 47.103.*.* (47.103.*.*): icmp_seq=89 ttl=44 time=269 ms
    64 bytes from 47.103.*.* (47.103.*.*): icmp_seq=90 ttl=44 time=269 ms
    64 bytes from 47.103.*.* (47.103.*.*): icmp_seq=91 ttl=44 time=262 ms
    64 bytes from 47.103.*.* (47.103.*.*): icmp_seq=92 ttl=44 time=237 ms
    64 bytes from 47.103.*.* (47.103.*.*): icmp_seq=93 ttl=44 time=236 ms
    64 bytes from 47.103.*.* (47.103.*.*): icmp_seq=94 ttl=44 time=260 ms
    64 bytes from 47.103.*.* (47.103.*.*): icmp_seq=95 ttl=44 time=272 ms
    64 bytes from 47.103.*.* (47.103.*.*): icmp_seq=96 ttl=44 time=271 ms
    64 bytes from 47.103.*.* (47.103.*.*): icmp_seq=97 ttl=44 time=265 ms
    64 bytes from 47.103.*.* (47.103.*.*): icmp_seq=98 ttl=44 time=233 ms
    64 bytes from 47.103.*.* (47.103.*.*): icmp_seq=99 ttl=44 time=255 ms
    64 bytes from 47.103.*.* (47.103.*.*): icmp_seq=100 ttl=44 time=237 ms
    64 bytes from 47.103.*.* (47.103.*.*): icmp_seq=101 ttl=44 time=251 ms
    64 bytes from 47.103.*.* (47.103.*.*): icmp_seq=102 ttl=44 time=270 ms
    64 bytes from 47.103.*.* (47.103.*.*): icmp_seq=103 ttl=44 time=272 ms
    64 bytes from 47.103.*.* (47.103.*.*): icmp_seq=104 ttl=44 time=264 ms
    64 bytes from 47.103.*.* (47.103.*.*): icmp_seq=105 ttl=44 time=251 ms
    64 bytes from 47.103.*.* (47.103.*.*): icmp_seq=106 ttl=44 time=235 ms
    64 bytes from 47.103.*.* (47.103.*.*): icmp_seq=107 ttl=44 time=241 ms
    64 bytes from 47.103.*.* (47.103.*.*): icmp_seq=108 ttl=44 time=243 ms
    64 bytes from 47.103.*.* (47.103.*.*): icmp_seq=109 ttl=44 time=270 ms
    64 bytes from 47.103.*.* (47.103.*.*): icmp_seq=110 ttl=44 time=270 ms
    64 bytes from 47.103.*.* (47.103.*.*): icmp_seq=111 ttl=44 time=257 ms
    64 bytes from 47.103.*.* (47.103.*.*): icmp_seq=112 ttl=44 time=234 ms
    64 bytes from 47.103.*.* (47.103.*.*): icmp_seq=113 ttl=44 time=232 ms
    64 bytes from 47.103.*.* (47.103.*.*): icmp_seq=114 ttl=44 time=263 ms
    64 bytes from 47.103.*.* (47.103.*.*): icmp_seq=115 ttl=44 time=269 ms
    64 bytes from 47.103.*.* (47.103.*.*): icmp_seq=116 ttl=44 time=270 ms
    64 bytes from 47.103.*.* (47.103.*.*): icmp_seq=117 ttl=44 time=239 ms
    64 bytes from 47.103.*.* (47.103.*.*): icmp_seq=118 ttl=44 time=227 ms
    64 bytes from 47.103.*.* (47.103.*.*): icmp_seq=119 ttl=44 time=250 ms
    64 bytes from 47.103.*.* (47.103.*.*): icmp_seq=120 ttl=44 time=259 ms
    64 bytes from 47.103.*.* (47.103.*.*): icmp_seq=121 ttl=44 time=268 ms
    64 bytes from 47.103.*.* (47.103.*.*): icmp_seq=122 ttl=44 time=271 ms
    64 bytes from 47.103.*.* (47.103.*.*): icmp_seq=123 ttl=44 time=259 ms
    64 bytes from 47.103.*.* (47.103.*.*): icmp_seq=124 ttl=44 time=239 ms
    64 bytes from 47.103.*.* (47.103.*.*): icmp_seq=125 ttl=44 time=245 ms
    64 bytes from 47.103.*.* (47.103.*.*): icmp_seq=126 ttl=44 time=236 ms
    64 bytes from 47.103.*.* (47.103.*.*): icmp_seq=127 ttl=44 time=260 ms
    64 bytes from 47.103.*.* (47.103.*.*): icmp_seq=128 ttl=44 time=275 ms
    64 bytes from 47.103.*.* (47.103.*.*): icmp_seq=129 ttl=44 time=262 ms
    64 bytes from 47.103.*.* (47.103.*.*): icmp_seq=130 ttl=44 time=238 ms
    64 bytes from 47.103.*.* (47.103.*.*): icmp_seq=131 ttl=44 time=229 ms
    64 bytes from 47.103.*.* (47.103.*.*): icmp_seq=132 ttl=44 time=257 ms
    64 bytes from 47.103.*.* (47.103.*.*): icmp_seq=133 ttl=44 time=264 ms
    64 bytes from 47.103.*.* (47.103.*.*): icmp_seq=134 ttl=44 time=243 ms
    64 bytes from 47.103.*.* (47.103.*.*): icmp_seq=135 ttl=44 time=257 ms
    64 bytes from 47.103.*.* (47.103.*.*): icmp_seq=136 ttl=44 time=262 ms
    64 bytes from 47.103.*.* (47.103.*.*): icmp_seq=138 ttl=44 time=245 ms
    64 bytes from 47.103.*.* (47.103.*.*): icmp_seq=139 ttl=44 time=232 ms
    64 bytes from 47.103.*.* (47.103.*.*): icmp_seq=140 ttl=44 time=267 ms
    64 bytes from 47.103.*.* (47.103.*.*): icmp_seq=141 ttl=44 time=268 ms
    64 bytes from 47.103.*.* (47.103.*.*): icmp_seq=142 ttl=44 time=269 ms
    64 bytes from 47.103.*.* (47.103.*.*): icmp_seq=143 ttl=44 time=256 ms
    64 bytes from 47.103.*.* (47.103.*.*): icmp_seq=144 ttl=44 time=242 ms
    64 bytes from 47.103.*.* (47.103.*.*): icmp_seq=145 ttl=44 time=233 ms
    64 bytes from 47.103.*.* (47.103.*.*): icmp_seq=146 ttl=44 time=265 ms
    64 bytes from 47.103.*.* (47.103.*.*): icmp_seq=147 ttl=44 time=232 ms
    64 bytes from 47.103.*.* (47.103.*.*): icmp_seq=148 ttl=44 time=256 ms
    64 bytes from 47.103.*.* (47.103.*.*): icmp_seq=149 ttl=44 time=268 ms
    64 bytes from 47.103.*.* (47.103.*.*): icmp_seq=150 ttl=44 time=260 ms
    64 bytes from 47.103.*.* (47.103.*.*): icmp_seq=151 ttl=44 time=261 ms
    64 bytes from 47.103.*.* (47.103.*.*): icmp_seq=152 ttl=44 time=255 ms
    64 bytes from 47.103.*.* (47.103.*.*): icmp_seq=153 ttl=44 time=267 ms
    64 bytes from 47.103.*.* (47.103.*.*): icmp_seq=154 ttl=44 time=261 ms
    64 bytes from 47.103.*.* (47.103.*.*): icmp_seq=155 ttl=44 time=264 ms
    64 bytes from 47.103.*.* (47.103.*.*): icmp_seq=156 ttl=44 time=269 ms
    64 bytes from 47.103.*.* (47.103.*.*): icmp_seq=157 ttl=44 time=248 ms
    64 bytes from 47.103.*.* (47.103.*.*): icmp_seq=158 ttl=44 time=264 ms
    64 bytes from 47.103.*.* (47.103.*.*): icmp_seq=159 ttl=44 time=256 ms
    64 bytes from 47.103.*.* (47.103.*.*): icmp_seq=160 ttl=44 time=253 ms
    64 bytes from 47.103.*.* (47.103.*.*): icmp_seq=161 ttl=44 time=257 ms
    64 bytes from 47.103.*.* (47.103.*.*): icmp_seq=162 ttl=44 time=268 ms
    64 bytes from 47.103.*.* (47.103.*.*): icmp_seq=163 ttl=44 time=262 ms
    64 bytes from 47.103.*.* (47.103.*.*): icmp_seq=164 ttl=44 time=249 ms
    64 bytes from 47.103.*.* (47.103.*.*): icmp_seq=165 ttl=44 time=267 ms
    ^C
    --- 47.103.*.* ping statistics ---
    165 packets transmitted, 164 received, 0% packet loss, time 164212ms
    rtt min/avg/max/mdev = 215.725/255.905/275.815/13.962 ms
  • 补充一个do加利福尼亚 ping 容器云结果:

    1
    2
    3
    4
    5
    6
    7
    8
    9
    10
    11
    12
    13
    14
    15
    16
    17
    18
    19
    20
    21
    22
    23
    24
    25
    26
    27
    28
    29
    30
    31
    32
    33
    34
    35
    36
    37
    38
    39
    40
    41
    42
    43
    44
    45
    46
    47
    48
    49
    50
    51
    52
    PING env-*.paas.cloud.ac.cn (120.133.*.205) 56(84) bytes of data.
    64 bytes from 120.133.*.205 (120.133.*.205): icmp_seq=1 ttl=48 time=168 ms
    64 bytes from 120.133.*.205 (120.133.*.205): icmp_seq=2 ttl=48 time=168 ms
    64 bytes from 120.133.*.205 (120.133.*.205): icmp_seq=3 ttl=48 time=167 ms
    64 bytes from 120.133.*.205 (120.133.*.205): icmp_seq=4 ttl=48 time=167 ms
    64 bytes from 120.133.*.205 (120.133.*.205): icmp_seq=5 ttl=48 time=168 ms
    64 bytes from 120.133.*.205 (120.133.*.205): icmp_seq=6 ttl=48 time=167 ms
    64 bytes from 120.133.*.205 (120.133.*.205): icmp_seq=7 ttl=48 time=167 ms
    64 bytes from 120.133.*.205 (120.133.*.205): icmp_seq=8 ttl=48 time=167 ms
    64 bytes from 120.133.*.205 (120.133.*.205): icmp_seq=9 ttl=48 time=167 ms
    64 bytes from 120.133.*.205 (120.133.*.205): icmp_seq=10 ttl=48 time=168 ms
    64 bytes from 120.133.*.205 (120.133.*.205): icmp_seq=12 ttl=48 time=168 ms
    64 bytes from 120.133.*.205 (120.133.*.205): icmp_seq=13 ttl=48 time=167 ms
    64 bytes from 120.133.*.205 (120.133.*.205): icmp_seq=14 ttl=48 time=167 ms
    64 bytes from 120.133.*.205 (120.133.*.205): icmp_seq=15 ttl=48 time=167 ms
    64 bytes from 120.133.*.205 (120.133.*.205): icmp_seq=16 ttl=48 time=167 ms
    64 bytes from 120.133.*.205 (120.133.*.205): icmp_seq=17 ttl=48 time=168 ms
    64 bytes from 120.133.*.205 (120.133.*.205): icmp_seq=18 ttl=48 time=167 ms
    64 bytes from 120.133.*.205 (120.133.*.205): icmp_seq=19 ttl=48 time=167 ms
    64 bytes from 120.133.*.205 (120.133.*.205): icmp_seq=20 ttl=48 time=168 ms
    64 bytes from 120.133.*.205 (120.133.*.205): icmp_seq=21 ttl=48 time=167 ms
    64 bytes from 120.133.*.205 (120.133.*.205): icmp_seq=22 ttl=48 time=167 ms
    64 bytes from 120.133.*.205 (120.133.*.205): icmp_seq=23 ttl=48 time=167 ms
    64 bytes from 120.133.*.205 (120.133.*.205): icmp_seq=24 ttl=48 time=167 ms
    64 bytes from 120.133.*.205 (120.133.*.205): icmp_seq=25 ttl=48 time=167 ms
    64 bytes from 120.133.*.205 (120.133.*.205): icmp_seq=27 ttl=48 time=167 ms
    64 bytes from 120.133.*.205 (120.133.*.205): icmp_seq=28 ttl=48 time=167 ms
    64 bytes from 120.133.*.205 (120.133.*.205): icmp_seq=29 ttl=48 time=167 ms
    64 bytes from 120.133.*.205 (120.133.*.205): icmp_seq=31 ttl=48 time=168 ms
    64 bytes from 120.133.*.205 (120.133.*.205): icmp_seq=32 ttl=48 time=167 ms
    64 bytes from 120.133.*.205 (120.133.*.205): icmp_seq=33 ttl=48 time=167 ms
    64 bytes from 120.133.*.205 (120.133.*.205): icmp_seq=34 ttl=48 time=167 ms
    64 bytes from 120.133.*.205 (120.133.*.205): icmp_seq=35 ttl=48 time=167 ms
    64 bytes from 120.133.*.205 (120.133.*.205): icmp_seq=37 ttl=48 time=168 ms
    64 bytes from 120.133.*.205 (120.133.*.205): icmp_seq=38 ttl=48 time=168 ms
    64 bytes from 120.133.*.205 (120.133.*.205): icmp_seq=39 ttl=48 time=168 ms
    64 bytes from 120.133.*.205 (120.133.*.205): icmp_seq=40 ttl=48 time=167 ms
    64 bytes from 120.133.*.205 (120.133.*.205): icmp_seq=41 ttl=48 time=167 ms
    64 bytes from 120.133.*.205 (120.133.*.205): icmp_seq=42 ttl=48 time=167 ms
    64 bytes from 120.133.*.205 (120.133.*.205): icmp_seq=45 ttl=48 time=167 ms
    64 bytes from 120.133.*.205 (120.133.*.205): icmp_seq=46 ttl=48 time=167 ms
    64 bytes from 120.133.*.205 (120.133.*.205): icmp_seq=47 ttl=48 time=168 ms
    64 bytes from 120.133.*.205 (120.133.*.205): icmp_seq=48 ttl=48 time=167 ms
    64 bytes from 120.133.*.205 (120.133.*.205): icmp_seq=49 ttl=48 time=167 ms
    64 bytes from 120.133.*.205 (120.133.*.205): icmp_seq=50 ttl=48 time=167 ms
    64 bytes from 120.133.*.205 (120.133.*.205): icmp_seq=51 ttl=48 time=168 ms
    64 bytes from 120.133.*.205 (120.133.*.205): icmp_seq=52 ttl=48 time=168 ms
    64 bytes from 120.133.*.205 (120.133.*.205): icmp_seq=53 ttl=48 time=168 ms
    ^C
    --- env-*.paas.cloud.ac.cn ping statistics ---
    54 packets transmitted, 47 received, 12% packet loss, time 53157ms
    rtt min/avg/max/mdev = 167.359/167.907/168.460/0.224 ms

tcp ping

  • hz德国tcpping结果

    1.这里响应ip出现了跳变现象,不知是什么情况,跳变现象发生时,延迟会波动且出现丢包。

    ​ 不跳变时延迟很稳定。

    2.云筏解释ip跳变现象:

    1
    2
    3
    我们两台物理机做负载均衡高可用
    这两个IP会先去到VIP网关,然后根据可用性分配到两台LB的其中一台
    最后LB再端口转发到内网对应的机器里面

    所以跳变是世纪互联内网的负载均衡切换导致的。

    1
    2
    3
    4
    5
    6
    7
    8
    9
    10
    11
    12
    13
    14
    15
    16
    17
    18
    19
    20
    21
    22
    23
    24
    25
    26
    27
    28
    29
    30
    31
    32
    33
    34
    35
    root@HmWOO3goHl:~# ./tcpping env-*.paas.cloud.ac.cn
    seq 0: tcp response from 120.133.*.205 [open] 261.190 ms
    seq 1: tcp response from 120.133.*.205 [open] 272.638 ms
    seq 2: tcp response from 120.133.*.205 [open] 261.234 ms
    seq 3: tcp response from 120.133.*.205 [open] 262.140 ms
    seq 4: tcp response from 120.133.*.205 [open] 264.078 ms
    seq 5: tcp response from 120.133.*.205 [open] 271.157 ms
    seq 6: tcp response from 120.133.*.204 [open] 299.257 ms
    seq 9: tcp response from 120.133.*.204 [open] 303.163 ms
    seq 7: no response (timeout)
    seq 10: tcp response from 120.133.*.204 [open] 294.689 ms
    seq 8: no response (timeout)
    seq 11: tcp response from 120.133.*.204 [open] 263.507 ms
    seq 13: tcp response from 120.133.*.205 [open] 261.874 ms
    seq 14: tcp response from 120.133.*.205 [open] 277.982 ms
    seq 12: no response (timeout)
    seq 15: tcp response from 120.133.*.205 [open] 271.825 ms
    seq 16: tcp response from 120.133.*.205 [open] 277.671 ms
    seq 17: tcp response from 120.133.*.205 [open] 277.896 ms
    seq 18: tcp response from 120.133.*.204 [open] 261.651 ms
    seq 19: tcp response from 120.133.*.204 [open] 246.754 ms
    seq 21: tcp response from 120.133.*.204 [open] 262.533 ms
    seq 20: no response (timeout)
    seq 23: tcp response from 120.133.*.204 [open] 275.207 ms
    seq 24: tcp response from 120.133.*.205 [open] 261.053 ms
    seq 22: no response (timeout)
    seq 25: tcp response from 120.133.*.205 [open] 260.566 ms
    seq 26: tcp response from 120.133.*.205 [open] 262.524 ms
    seq 27: tcp response from 120.133.*.205 [open] 271.370 ms
    seq 28: tcp response from 120.133.*.205 [open] 260.854 ms
    seq 29: tcp response from 120.133.*.205 [open] 271.908 ms
    seq 30: tcp response from 120.133.*.204 [open] 280.423 ms
    seq 31: tcp response from 120.133.*.204 [open] 263.348 ms
    seq 32: tcp response from 120.133.*.204 [open] 280.145 ms
    seq 33: tcp response from 120.133.*.204 [open] 275.200 ms

    作为对比,tcpping 我的阿里云上海轻量的结果:

    显然延迟不稳定

    1
    2
    3
    4
    5
    6
    7
    8
    9
    10
    11
    12
    13
    14
    15
    16
    17
    18
    19
    20
    21
    22
    23
    24
    25
    26
    27
    28
    29
    30
    31
    32
    seq 0: tcp response from 47.103.*.* [open]  190.321 ms
    seq 1: tcp response from 47.103.*.* [open] 203.469 ms
    seq 2: tcp response from 47.103.*.* [open] 265.313 ms
    seq 3: tcp response from 47.103.*.* [open] 191.326 ms
    seq 4: tcp response from 47.103.*.* [open] 271.669 ms
    seq 5: tcp response from 47.103.*.* [open] 258.259 ms
    seq 6: tcp response from 47.103.*.* [open] 264.827 ms
    seq 7: tcp response from 47.103.*.* [open] 218.586 ms
    seq 8: tcp response from 47.103.*.* [open] 249.855 ms
    seq 9: tcp response from 47.103.*.* [open] 256.512 ms
    seq 10: tcp response from 47.103.*.* [open] 267.790 ms
    seq 11: tcp response from 47.103.*.* [open] 205.753 ms
    seq 12: tcp response from 47.103.*.* [open] 205.874 ms
    seq 13: tcp response from 47.103.*.* [open] 191.428 ms
    seq 14: tcp response from 47.103.*.* [open] 257.678 ms
    seq 15: tcp response from 47.103.*.* [open] 233.651 ms
    seq 16: tcp response from 47.103.*.* [open] 218.725 ms
    seq 17: tcp response from 47.103.*.* [open] 265.811 ms
    seq 18: tcp response from 47.103.*.* [open] 284.095 ms
    seq 19: tcp response from 47.103.*.* [open] 248.003 ms
    seq 20: tcp response from 47.103.*.* [open] 229.340 ms
    seq 21: tcp response from 47.103.*.* [open] 262.052 ms
    seq 22: tcp response from 47.103.*.* [open] 229.722 ms
    seq 23: tcp response from 47.103.*.* [open] 285.513 ms
    seq 24: tcp response from 47.103.*.* [open] 209.825 ms
    seq 25: tcp response from 47.103.*.* [open] 274.478 ms
    seq 26: tcp response from 47.103.*.* [open] 194.436 ms
    seq 27: tcp response from 47.103.*.* [open] 236.819 ms
    seq 28: tcp response from 47.103.*.* [open] 205.485 ms
    seq 29: tcp response from 47.103.*.* [open] 267.304 ms
    seq 30: tcp response from 47.103.*.* [open] 263.437 ms
    seq 31: tcp response from 47.103.*.* [open] 215.653 ms
  • 补充一个 do加利福尼亚 tcpping容器云结果:

    1
    2
    3
    4
    5
    6
    7
    8
    9
    10
    11
    12
    13
    14
    15
    16
    17
    18
    19
    20
    21
    22
    23
    24
    25
    26
    27
    28
    29
    30
    31
    32
    seq 0: tcp response from 120.133.*.205 [open]  167.918 ms
    seq 1: tcp response from 120.133.*.204 [open] 165.901 ms
    seq 2: tcp response from 120.133.*.204 [open] 183.537 ms
    seq 3: tcp response from 120.133.*.204 [open] 166.928 ms
    seq 4: tcp response from 120.133.*.204 [open] 166.852 ms
    seq 5: tcp response from 120.133.*.204 [open] 168.444 ms
    seq 6: tcp response from 120.133.*.204 [open] 166.720 ms
    seq 7: tcp response from 120.133.*.205 [open] 167.135 ms
    seq 8: tcp response from 120.133.*.205 [open] 168.177 ms
    seq 9: tcp response from 120.133.*.205 [open] 175.911 ms
    seq 10: tcp response from 120.133.*.205 [open] 176.296 ms
    seq 11: tcp response from 120.133.*.205 [open] 177.633 ms
    seq 12: tcp response from 120.133.*.204 [open] 158.024 ms
    seq 13: tcp response from 120.133.*.204 [open] 165.600 ms
    seq 14: tcp response from 120.133.*.205 [open] 168.363 ms
    seq 15: tcp response from 120.133.*.205 [open] 167.185 ms
    seq 16: tcp response from 120.133.*.205 [open] 178.642 ms
    seq 17: tcp response from 120.133.*.205 [open] 165.704 ms
    seq 19: tcp response from 120.133.*.204 [open] 166.478 ms
    seq 18: no response (timeout)
    seq 21: tcp response from 120.133.*.204 [open] 165.800 ms
    seq 22: tcp response from 120.133.*.204 [open] 166.172 ms
    seq 20: tcp response from 120.133.*.204 [open] 176.612 ms
    seq 23: tcp response from 120.133.*.205 [open] 168.056 ms
    seq 24: tcp response from 120.133.*.205 [open] 167.095 ms
    seq 26: tcp response from 120.133.*.205 [open] 168.448 ms
    seq 27: tcp response from 120.133.*.204 [open] 177.671 ms
    seq 25: no response (timeout)
    seq 28: tcp response from 120.133.*.204 [open] 166.789 ms
    seq 29: tcp response from 120.133.*.204 [open] 166.829 ms
    seq 30: tcp response from 120.133.*.205 [open] 176.666 ms
    seq 31: tcp response from 120.133.*.205 [open] 167.679 ms

独立ipv4

​ 容器云面板显示有独立ipv4功能,但是申请失败,无法测试。

​ 据云筏表示,已准备提供独立ipv4,但暂未拿到icp证,不开放。独立ipv4的网络情况需要等待容器云正式上线后才能知晓。

出口带宽

容器云作为文件服务器

  • 目的:看看到海外访问容器云的带宽能达到多少

  • 测试环境:

    • 容器部署nginx,以一个opsx镜像(871MB)作为大体积文件。nginx配置:

      1
      2
      3
      4
      5
      6
      7
      server \{
      listen 80;
      location / \{
      root /home/test;
      autoindex on;
      \}
      \}
    • 下载机的服务商与地域:hz德国 + digitalocean加利福尼亚

    • wget单线程下载 + axel多线程。使用axel是为了尽可能抢占到最大的带宽

    • 没开BBR。gia应该不需要开BBR。

  • 测试路由:均为163

  • 测试结果

    wget单线程(avg.) axel 64线程(avg.)
    hz德国(136.243.0.0) 1.11MB/s 1.14 MB/
    do加利福尼亚(64.225.0.0) 1.12MB/s 懒得测了

    个人感觉:很显然出口带宽被限制了,单线程能跑到1.11MB/s,axel多线程理所应当有显著提高。无法跑到更高的带宽上,是云筏限制或是上游运营商限制不得而知。

    海外从容器云下载大文件能稳定跑到1MB/s 以上,还是挺不错的。

容器云作为下载机

  • 测试环境:

    • hz德国vps作为文件服务器,部署相同的镜像(871MB)
    • 容器云作为下载机
    • wget单线程+axel多线程。
    • hz德国vps开了BBR。理由:很早之前就开了。
    • hz德国vps 上行带宽限制为100M。
    • 新增一个hzG口拍卖机作为文件服务器
  • 容器云到hz vps的测试路由:

    1
    2
    3
    4
    5
    6
    7
    8
    9
    10
    11
    12
    13
    14
    15
    16
    17
    traceroute to 136.243.*.* (136.243.*.*), 30 hops max, 60 byte packets
    1 172.31.0.3 (172.31.0.3) 0.058 ms 0.017 ms 0.015 ms
    2 124.74.*.* (124.74.*.*) 5.734 ms 5.873 ms 5.647 ms
    3 101.95.91.197 (101.95.91.197) 7.580 ms 101.95.91.65 (101.95.91.65) 5.212 ms 101.95.91.189 (101.95.91.189) 6.716 ms
    4 61.152.24.193 (61.152.24.193) 11.655 ms 61.152.24.189 (61.152.24.189) 9.444 ms 61.152.24.193 (61.152.24.193) 11.554 ms
    5 59.43.130.206 (59.43.130.206) 5.544 ms * *
    6 59.43.187.62 (59.43.187.62) 5.906 ms 59.43.187.66 (59.43.187.66) 4.417 ms 59.43.246.190 (59.43.246.190) 4.333 ms
    7 59.43.246.206 (59.43.246.206) 203.203 ms * 59.43.187.186 (59.43.187.186) 183.522 ms
    8 ldn-b4-link.telia.net (80.239.193.225) 184.786 ms 184.469 ms 184.521 ms
    9 ldn-bb4-link.telia.net (62.115.120.238) 212.100 ms 212.712 ms 211.377 ms
    10 hbg-bb4-link.telia.net (62.115.122.160) 218.719 ms 200.832 ms 218.341 ms
    11 nug-b1-link.telia.net (62.115.113.175) 211.494 ms 212.482 ms 212.178 ms
    12 hetzner-ic-340780-nug-b1.c.telia.net (213.248.70.1) 231.423 ms 211.965 ms 211.946 ms
    13 core24.fsn1.hetzner.com (213.239.252.234) 251.591 ms * *
    14 ex9k2.dc12.fsn1.hetzner.com (213.239.203.194) 252.019 ms ex9k2.dc12.fsn1.hetzner.com (213.239.203.190) 214.789 ms 213.501 ms
    15 static.*.*.243.136.clients.your-server.de (136.243.*.*) 234.460 ms 216.406 ms 216.386 ms
    16 static.*.*.243.136.clients.your-server.de (136.243.*.*) 216.331 ms 234.386 ms 216.707 ms
  • 容器云到hz拍卖机的测试路由:

    1
    2
    3
    4
    5
    6
    7
    8
    9
    10
    11
    12
    13
    14
    15
    16
    traceroute to 144.0.0.0 (144.0.0.0), 30 hops max, 60 byte packets
    1 172.31.0.3 (172.31.0.3) 0.068 ms 0.020 ms 0.016 ms
    2 124.74.*.* (124.74.*.*) 3.699 ms 4.549 ms 5.537 ms
    3 101.95.91.65 (101.95.91.65) 5.686 ms 101.95.91.197 (101.95.91.197) 9.224 ms 101.95.91.61 (101.95.91.61) 5.354 ms
    4 101.95.88.229 (101.95.88.229) 5.399 ms 61.152.24.205 (61.152.24.205) 5.711 ms 101.95.88.229 (101.95.88.229) 5.463 ms
    5 59.43.130.190 (59.43.130.190) 6.185 ms 59.43.138.70 (59.43.138.70) 6.222 ms *
    6 59.43.187.62 (59.43.187.62) 5.050 ms 59.43.187.74 (59.43.187.74) 5.425 ms 59.43.187.70 (59.43.187.70) 5.841 ms
    7 59.43.246.222 (59.43.246.222) 205.813 ms 59.43.246.206 (59.43.246.206) 203.461 ms *
    8 * ldn-b4-link.telia.net (80.239.193.225) 187.202 ms *
    9 ldn-bb4-link.telia.net (62.115.120.238) 230.664 ms 230.596 ms 230.817 ms
    10 hbg-bb4-link.telia.net (62.115.122.160) 199.666 ms 217.385 ms 217.339 ms
    11 nug-b1-link.telia.net (62.115.113.175) 230.177 ms 230.089 ms 210.110 ms
    12 hetzner-ic-340780-nug-b1.c.telia.net (213.248.70.1) 231.184 ms 232.349 ms 214.600 ms
    13 core23.fsn1.hetzner.com (213.239.252.230) 234.428 ms * *
    14 ex9k2.dc10.fsn1.hetzner.com (213.239.229.62) 212.568 ms ex9k2.dc10.fsn1.hetzner.com (213.239.229.58) 234.260 ms 234.156 ms
    15 static.0.0.0.144.clients.your-server.de (144.0.0.0) 231.900 ms 231.967 ms 231.922 ms
  • 测试结果:

    文件服务器上行带宽 wget单线程(avg.) axel 64线程(avg.)
    hz vps(136.243.0.0) 100M 9.54MB/s 不测,单线程快跑到了带宽上限没有意义
    hz 拍卖机(144.0.0.0) 1000M 6.40MB/s 9.3MB/s
  • 评价

    目测限制了从海外入境的带宽,限到了100M。

总结

大陆以外地域的网络情况

  • 容器云出口到海外ip走GIA网络,所以能高速拉海外的文件,下载速度很可能被限制到100M。没测走GIA到海外的带宽。
  • 海外入容器云的路由为163网络,从海外下载容器云文件速度略高于1MB/s。没测走163到容器云的带宽。

大陆网络情况

  • 上行限制为100M,多地测速接近了100M。
  • 下行限制大于500M,多地测速超过了500M。少数节点跌到了400M。
1
海外双向ping可以发现,由容器云主动发起的连接,流量全部走gia;海外服务器发起的连接,流量走163。

最后一点

  • 测速次数较少,结果仅供参考。

工具汇总

  • 测试使用的工具:ping,traceroute,tcpping

  • 安装tcpping 及使用

    1
    2
    3
    sudo apt-get install tcptraceroute
    wget http://www.vdberg.org/~richard/tcpping && chmod 755 tcpping
    ./tcpping www.baidu.com
  • 三网测速脚本superspeed.sh

    1
    bash <(curl -Lso- https://git.io/superspeed)
  • 站长工具-路由追踪